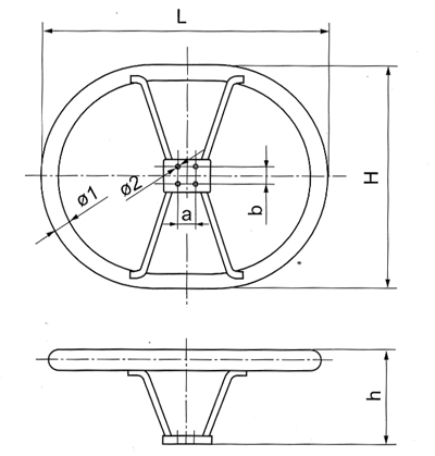
P1-500N4型均压屏蔽环(500KV)

|
型号
|
主要尺寸(mm)
|
参考重量(Kg)
|
||||||
|
L
|
H
|
h
|
ø
|
ø1
|
a
|
b
|
||
|
P1-500N4
|
1050
|
750
|
220
|
50
|
18
|
60
|
60
|
5.4
|

